草莓视频在线观看入口股份

咨询服务热线: 15222906608
仪表电缆自动化成套 压力草莓视频APP色版\差压草莓视频APP色版\温度草莓视频APP色版\液位草莓视频APP色版等
banner

热门关键字:

全国服务热线

15222906608
23(s)Y/25Y系列通用型压力草莓视频APP色版

23(s)Y/25Y系列通用型压力草莓视频APP色版

产品概述: Y系列压力草莓视频APP色版具有小的温度误差,这是通过使用包含温度传感器的附加电路将温度变化分成宽度为1.5K的几个单元来实现的。每个单元之间的零...
麦德林智能压力草莓视频APP色版在液位测量中的扩展应用

麦德林智能压力草莓视频APP色版在液位测量中的扩展应用

应用麦德申单晶硅智能压力草莓视频APP色版测量液位有其独特的特点。对于温度变化引起的液位偏差,可以根据密度与温度的对应关系,通过温度补偿计算,间接换...
LEEG单晶硅压力草莓视频APP色版新产品发布,敬请期待!

LEEG单晶硅压力草莓视频APP色版新产品发布,敬请期待!

再过一个月,上海传感器博览会(传感器中国博览会& 2019年会议,中国(上海)国际传感器技术与应用展览会),国内盛会,上海李哥将发布LEEG单晶硅压力变送...
河流仪表电解槽入口电流DC电压压力草莓视频APP色版的求解

河流仪表电解槽入口电流DC电压压力草莓视频APP色版的求解

在此期间,河表将响应电解池入口的DC电压压力草莓视频APP色版法兰。 大家好,在草莓视频在线观看入口单元电解槽的入口液相压力草莓视频APP色版法兰处有一个约200伏的DC电压。你曾经遇到...
LD 3851d p4s 222 B3 m3 D2 压力草莓视频APP色版

LD 3851d p4s 222 B3 m3 D2 压力草莓视频APP色版

很荣幸向您推荐淮安润泰仪器有限公司的重点产品之一,如有任何需求或建议,请联系草莓视频在线观看入口,电话:182-5232-8676 产品介绍 用于测量液体、气体或蒸汽的液位、...
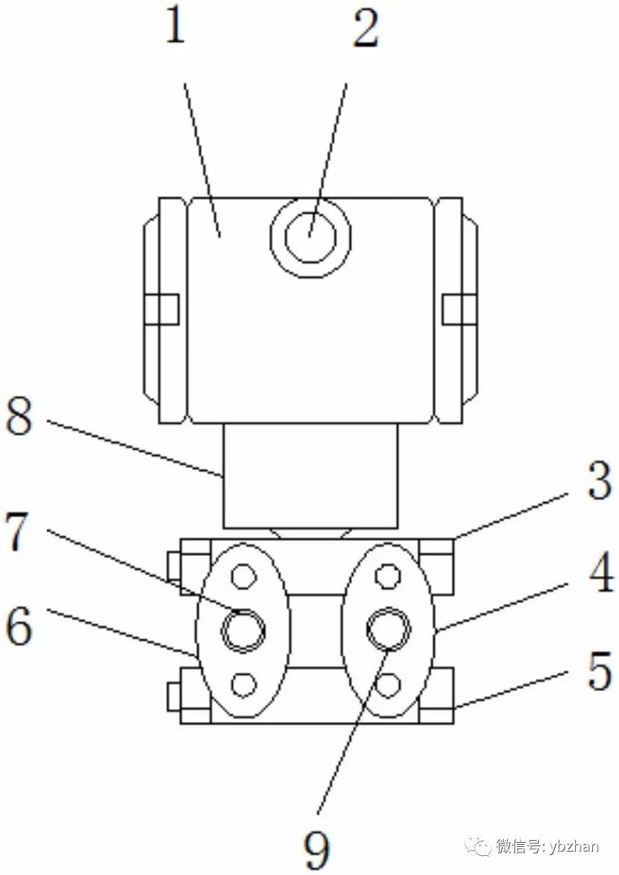
本发明涉及一种智能草莓视频APP色版

本发明涉及一种智能草莓视频APP色版

创造力是无限的,仪器是伟大的发明。今天,我介绍一项国家发明专利——智能发射器。该专利由江苏菲尔德自动化仪器有限公司申请,并于2018年7月24日公...
网站地图